
PRODUCTS
Aluminum Round Jaws
Description
Aluminum round jaws are specifically designed for thin-walled workpieces requiring clamping deformation.These jaws provide complete circumferential contact, distributing clamping force evenly to reduce the risk of distortion and improve machining precision.
Their lightweight aluminum construction makes them ideal for high-speed operations and reduces spindle load.
Recommended for applications involving thin tubes, precision components, or materials sensitive to pressure marks.
Feature
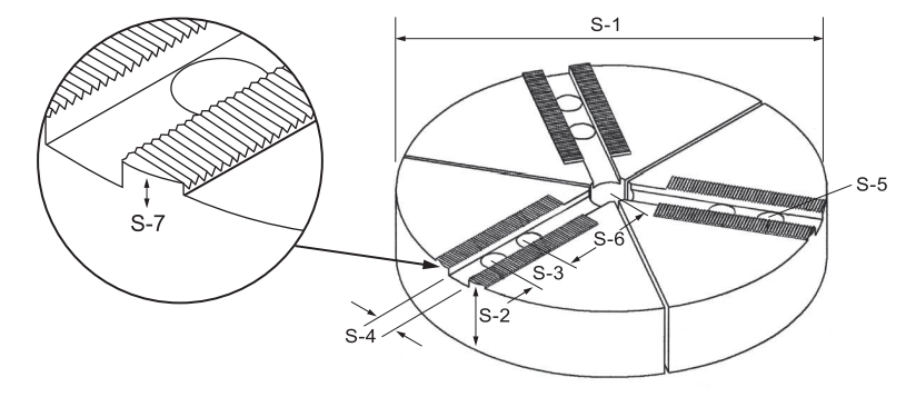
- Materials: Aluminum 6061 T6
- Serration Pitch:1.5mm×60°
- To conform to the chucks from Kitagawa and other global brands
- For sizes not listed, please refer to the "Soft Jaw Customization Form" on page 24 of the catalog.
Dimensions

Specifications
UNIT: mm

