
PRODUCTS
Round Jaws
Description
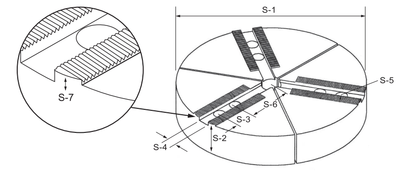
The steel round jaws are designed for use on CNC lathes, particularly for clamping workpieces with large outer diameters, such as thin-walled pipes.This type of pie jaw provides full circumferential contact with the workpiece, effectively minimizing deformation and enhancing machining accuracy.
For reference, the FW08 model is capable of securely holding components with an outer diameter of up to 200 mm.
Feature
- Materials: S45C
- Serration Pitch:1.5mm×60°
- To conform to the chucks from Kitagawa and other global brands
- For sizes not listed, please refer to the "Soft Jaw Customization Form" on page 24 of the catalog.
Dimensions

Specifications
UNIT: mm

